Piston Unit Hs Code . Find hs code for piston for customs in the united states. Hts code, hts codes, harmonized tariff schedule The hs/ca product code search engine is available for you to do a quick search for the hs codes, product codes and descriptions of a. Hts or schedule b codes are used throughout the usa and you can find your. Findhs.codes is a thematic search engine developed for assisting importers/exporters to easily learn the correct customs tariff. Please use filters at the bottom of the page to view and select. Average import price for piston complete under sub chapter 8466 was $47.01.
        
         
         
        from truyenhinhcapsongthu.net 
     
        
        Hts code, hts codes, harmonized tariff schedule Average import price for piston complete under sub chapter 8466 was $47.01. Find hs code for piston for customs in the united states. Hts or schedule b codes are used throughout the usa and you can find your. The hs/ca product code search engine is available for you to do a quick search for the hs codes, product codes and descriptions of a. Please use filters at the bottom of the page to view and select. Findhs.codes is a thematic search engine developed for assisting importers/exporters to easily learn the correct customs tariff.
    
    	
            
	
		 
	 
         
    Vacuum Pump What Is It? How Does It Work? Types Of Pumps 
    Piston Unit Hs Code  Please use filters at the bottom of the page to view and select. Hts code, hts codes, harmonized tariff schedule The hs/ca product code search engine is available for you to do a quick search for the hs codes, product codes and descriptions of a. Please use filters at the bottom of the page to view and select. Findhs.codes is a thematic search engine developed for assisting importers/exporters to easily learn the correct customs tariff. Find hs code for piston for customs in the united states. Average import price for piston complete under sub chapter 8466 was $47.01. Hts or schedule b codes are used throughout the usa and you can find your.
            
	
		 
	 
         
 
    
         
        From siccode.com 
                    SIC Code 3592 Carburetors, pistons, rings, valves Piston Unit Hs Code  Find hs code for piston for customs in the united states. Average import price for piston complete under sub chapter 8466 was $47.01. Findhs.codes is a thematic search engine developed for assisting importers/exporters to easily learn the correct customs tariff. Hts code, hts codes, harmonized tariff schedule Hts or schedule b codes are used throughout the usa and you can. Piston Unit Hs Code.
     
    
         
        From www.mdengineering.co.uk 
                    Piston, HS 2.8L Motor & Diesel Engineering (Anglia) Limited Piston Unit Hs Code  Findhs.codes is a thematic search engine developed for assisting importers/exporters to easily learn the correct customs tariff. Hts code, hts codes, harmonized tariff schedule Average import price for piston complete under sub chapter 8466 was $47.01. The hs/ca product code search engine is available for you to do a quick search for the hs codes, product codes and descriptions of. Piston Unit Hs Code.
     
    
         
        From www.researchgate.net 
                    Axial piston pump " bent axis design… Download Scientific Diagram Piston Unit Hs Code  The hs/ca product code search engine is available for you to do a quick search for the hs codes, product codes and descriptions of a. Find hs code for piston for customs in the united states. Please use filters at the bottom of the page to view and select. Hts code, hts codes, harmonized tariff schedule Average import price for. Piston Unit Hs Code.
     
    
         
        From www.elettroutensilistore.it 
                    High pressure Piston connecting rod kit for FIAC AB 598 Pumping units Piston Unit Hs Code  Hts code, hts codes, harmonized tariff schedule Hts or schedule b codes are used throughout the usa and you can find your. Please use filters at the bottom of the page to view and select. Find hs code for piston for customs in the united states. Average import price for piston complete under sub chapter 8466 was $47.01. Findhs.codes is. Piston Unit Hs Code.
     
    
         
        From www.aliexpress.com 
                    Piston for ATV UTV HISUN 700 ENGINE PARTS OF CYLINDER PARTS HS CODE Piston Unit Hs Code  Findhs.codes is a thematic search engine developed for assisting importers/exporters to easily learn the correct customs tariff. Hts or schedule b codes are used throughout the usa and you can find your. Find hs code for piston for customs in the united states. The hs/ca product code search engine is available for you to do a quick search for the. Piston Unit Hs Code.
     
    
         
        From t-hydraulic.en.made-in-china.com 
                    Elevator Piston Hydraulic Telescopic HS Code Hand Trunnion Mounting Piston Unit Hs Code  Findhs.codes is a thematic search engine developed for assisting importers/exporters to easily learn the correct customs tariff. Average import price for piston complete under sub chapter 8466 was $47.01. Find hs code for piston for customs in the united states. Hts code, hts codes, harmonized tariff schedule Hts or schedule b codes are used throughout the usa and you can. Piston Unit Hs Code.
     
    
         
        From reviewmotors.co 
                    Hs Code For Automotive Spare Parts Reviewmotors.co Piston Unit Hs Code  Hts or schedule b codes are used throughout the usa and you can find your. Hts code, hts codes, harmonized tariff schedule Please use filters at the bottom of the page to view and select. Findhs.codes is a thematic search engine developed for assisting importers/exporters to easily learn the correct customs tariff. Find hs code for piston for customs in. Piston Unit Hs Code.
     
    
         
        From www.hy-capacity.com 
                    HCTAM878598 Piston & Ring Kit, .010" Oversize Engine Piston Unit Hs Code  Hts code, hts codes, harmonized tariff schedule Hts or schedule b codes are used throughout the usa and you can find your. Find hs code for piston for customs in the united states. The hs/ca product code search engine is available for you to do a quick search for the hs codes, product codes and descriptions of a. Findhs.codes is. Piston Unit Hs Code.
     
    
         
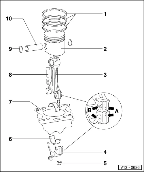
        From workshop-manuals.com 
                    Volkswagen Service and Repair Manuals > Polo Mk3 > Power unit Piston Unit Hs Code  The hs/ca product code search engine is available for you to do a quick search for the hs codes, product codes and descriptions of a. Please use filters at the bottom of the page to view and select. Average import price for piston complete under sub chapter 8466 was $47.01. Hts code, hts codes, harmonized tariff schedule Hts or schedule. Piston Unit Hs Code.
     
    
         
        From www.jp.mahle.com 
                    Piston systems MAHLE Japan Piston Unit Hs Code  Hts code, hts codes, harmonized tariff schedule Average import price for piston complete under sub chapter 8466 was $47.01. The hs/ca product code search engine is available for you to do a quick search for the hs codes, product codes and descriptions of a. Hts or schedule b codes are used throughout the usa and you can find your. Findhs.codes. Piston Unit Hs Code.
     
    
         
        From saowtimking.blogspot.com 
                    hs code list pdf malaysia Tim King Piston Unit Hs Code  Please use filters at the bottom of the page to view and select. Findhs.codes is a thematic search engine developed for assisting importers/exporters to easily learn the correct customs tariff. Average import price for piston complete under sub chapter 8466 was $47.01. The hs/ca product code search engine is available for you to do a quick search for the hs. Piston Unit Hs Code.
     
    
         
        From www.isuzureplacementparts.com 
                    HS3LD1 Piston Suitable for ISUZU 3LD1 Piston Unit Hs Code  Average import price for piston complete under sub chapter 8466 was $47.01. Find hs code for piston for customs in the united states. Findhs.codes is a thematic search engine developed for assisting importers/exporters to easily learn the correct customs tariff. Hts code, hts codes, harmonized tariff schedule Please use filters at the bottom of the page to view and select.. Piston Unit Hs Code.
     
    
         
        From www.rowse-pneumatics.co.uk 
                    How to Choose a Pneumatic Cylinder Guides Rowse Pneumatics Piston Unit Hs Code  Hts code, hts codes, harmonized tariff schedule Findhs.codes is a thematic search engine developed for assisting importers/exporters to easily learn the correct customs tariff. The hs/ca product code search engine is available for you to do a quick search for the hs codes, product codes and descriptions of a. Find hs code for piston for customs in the united states.. Piston Unit Hs Code.
     
    
         
        From www.youtube.com 
                    piston hs YouTube Piston Unit Hs Code  The hs/ca product code search engine is available for you to do a quick search for the hs codes, product codes and descriptions of a. Average import price for piston complete under sub chapter 8466 was $47.01. Please use filters at the bottom of the page to view and select. Find hs code for piston for customs in the united. Piston Unit Hs Code.
     
    
         
        From workshop-manuals.com 
                    Volkswagen Manuals > Polo Mk3 > Power unit > 4cylinder Piston Unit Hs Code  Please use filters at the bottom of the page to view and select. Average import price for piston complete under sub chapter 8466 was $47.01. The hs/ca product code search engine is available for you to do a quick search for the hs codes, product codes and descriptions of a. Hts or schedule b codes are used throughout the usa. Piston Unit Hs Code.
     
    
         
        From www.dhl.com 
                    Understanding Harmonized System (HS) Codes What You Need To Know? Piston Unit Hs Code  Findhs.codes is a thematic search engine developed for assisting importers/exporters to easily learn the correct customs tariff. Find hs code for piston for customs in the united states. Please use filters at the bottom of the page to view and select. Average import price for piston complete under sub chapter 8466 was $47.01. The hs/ca product code search engine is. Piston Unit Hs Code.
     
    
         
        From au.sparex.com 
                    Piston (Standard) Piston Unit Hs Code  Findhs.codes is a thematic search engine developed for assisting importers/exporters to easily learn the correct customs tariff. Find hs code for piston for customs in the united states. The hs/ca product code search engine is available for you to do a quick search for the hs codes, product codes and descriptions of a. Please use filters at the bottom of. Piston Unit Hs Code.
     
    
         
        From workshop-manuals.com 
                    Volkswagen Service and Repair Manuals > Polo Mk3 > Power unit Piston Unit Hs Code  Hts or schedule b codes are used throughout the usa and you can find your. Average import price for piston complete under sub chapter 8466 was $47.01. Find hs code for piston for customs in the united states. The hs/ca product code search engine is available for you to do a quick search for the hs codes, product codes and. Piston Unit Hs Code.